• 鼎升电力二维码
  • 电力预防性试验China Electric Industry Ieaders
  • 全国统一服务热线:400-6698-612

FRC交直流数字分压器(50kV~200kV)操作方法

  • 交直流数字分压器用于电力系统及电气设备制造部门测量工频交流高电压和直流高电压
  • 产品说明书 技术参数 附件清单
  • 提醒:关于咨询、购买、维护及产品故障等相关服务,致电客服。

交直流数字分压器(50kV~200kV)操作方法

一、测量前准备

a. 交直流数字分压器属于高压设备,请务必在空旷场地做试验。
b. 交直流数字分压器正常使用应满足:环境温度0~40℃,湿度≤85%RH。
c. 打开低压显示表,检查显示数字是否清晰,若显示模糊或没有显示,请检查显示表内部电池。

(一)正确接线

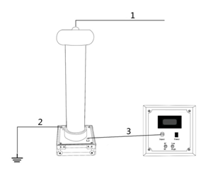
按图1所示接线方法正确接线。高压输入接均压球顶端接线柱,接地柱通过仪器配套接地线连接到大地,高压分压器和低压显示表通过仪器配套同轴电缆连接。连接好后,检查连线 确认无误后,选择相应的档位和量限即可开始测量。
    注意:交直流数字分压器配有配套接地线,高压分压器底座上装有专用接地柱,每次使用前都必须将接地柱可靠接地。高压测试线尽量用耐高压导线,测试线必须架空, 不得拖地或离地面太近。高压分压器和低压显示表至少相距两米以上,测试人员做试验时,一定不得靠近高压分压器(安全距离两米以上)。 交直流数字分压器正确接线图图1 接线图 交直流数字分压器接线指示说明

(二)工频高压测量

    正确接线后,打开低压显示表"Power"开关,将功能开关切换至AC档,选择High档,即可测量工频高压,液晶示值即为被测工频高压值。如测量电压低于20kV,可将功能开关切换至
Low档,以获得更高的测量精度。测试完毕后,切断高压,等低压显示仪表归零后方可进入现场。(交流测试时,仪表会缓慢回零,但高压电源可能已经没有电了。)

(三)直流高压测量

    正确接线后,打开低压显示表"Power"开关,将功能开关切换至AC档,选择High档,即可测量工频高压,液晶示值即为被测工频高压值。如测量电压低于20kV,可将功能开关切换至 Low档,以获得更高的测量精度。测试完毕后,切断高压,等低压显示仪表归零后方可进入现场。(交流测试时,仪表会缓慢回零,但高压电源可能已经没有电了。)

(四)高压分压器单独使用

    本公司为了满足客户的实际要求而设计,高压分压器可以独立使用,用市面上普通的万用表即可代替低压显示表。高压分压器分压比是1000:1,万用表示值乘以1000就等于被测高压电压值。即万用表示值的单位换成kV即可。

二、交直流数字分压器更换电池

打开低压显示表,如发现液晶显示模糊,或没有反应,说明该仪器内部电池电压偏低,需要更换。具体步骤如下:
a. 按Power开关关闭低压显示表电源;
b. 把低压显示表面板上的四个螺丝拧下,把面板提起;
c. 把电池盒上的螺丝拧下,电池盒盖打开,更换9V电池。(注意电池正负极性)

三、交直流数字分压器注意事项

打开低压显示表,如发现液晶显示模糊,或没有反应,说明该仪器内部电池电压偏低,需要更换。具体步骤如下:
a. 交直流数字分压器使用时周围不得有任何杂物,以免影响测量精度。
b. 严格注意保持操作距离,确保操作安全。
c. 测量完毕后直至仪表显示为零方可进入现场。

厂家承诺、客户必读
说明我公司将竭诚为您提供专业的产品及咨询与有效的技术服务,并及时提供工程预约及产品使用疑难解答, 已购买或即将使用本公司产品的客户,遇技术疑难,请致电我们。

我们严格遵守与客户签订的合同的各项条款,严格履行厂家销售服务承诺书,本产品一年质保,终身维修,因使用不当或保修期外的故障产品可凭产品保修卡修理。本公司坚持"用户为是,品质为上"的服务使命,为客户提供优质的产品和满意的服务。

产品服务流程|检定证书| 出厂报告|保修卡|物流包装|产品技术

400-6698-612 全国产品统一服务热线(免费咨询)
027-87875698 / 027-87180938

027-87180938
工作时间(上午8点30分 至 下午17点30分)

产品维修中心|技术咨询|订制产品
  • 客服中心
  • 全国统一服务热线:400-6698-612
  • 销售咨询:027-87875698
  • 技术售后:027-87180938
  • 2239963269 (点击咨询)
Copyright © 2016 CHINA DSEPA | 法律声明 鄂ICP备14004560号
武汉鼎升电力自动化有限责任公司 版权所有 侵权必究